更新时间:2023-03-10 15:34:52
价格:¥ 25000 元 型号:JF
品牌:吉丰热度:370
简要描述:刮泥机,是一种将淤泥从河道里清理出来的一种机器,用于城市污水处理厂、自来水厂以及工业废水处理中较大的圆形沉淀池中,排除沉降在池底的污泥和撇除池面的浮渣。翰克环保公司生产的刮泥机主要有周边传动刮泥机、中心传动刮泥机、中心传动浓缩刮泥机、中心传动悬挂式刮泥机、桁架刮泥撇渣机、行车式提
刮泥机,是一种将淤泥从河道里清理出来的一种机器,用于城市污水处理厂、自来水厂以及工业废水处理中较大的圆形沉淀池中,排除沉降在池底的污泥和撇除池面的浮渣。翰克环保公司生产的刮泥机主要有周边传动刮泥机、中心传动刮泥机、中心传动浓缩刮泥机、中心传动悬挂式刮泥机、桁架刮泥撇渣机、行车式提耙刮泥机、链板式刮泥机、螺旋输送刮泥机、垂架式中心传动刮泥机、平流行车刮泥机等不同种类的产品。

大周边传动刮泥机技术
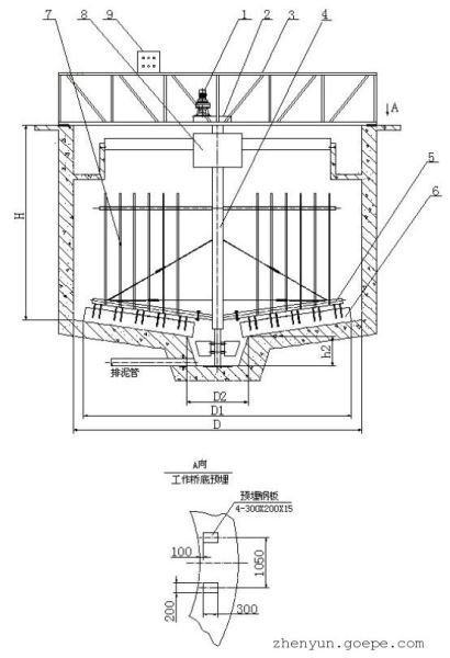
中心传动浓缩刮泥机主要由溢流装置、大梁及拦杆、进口管、传动装置、电器箱、稳流筒、主轴、浮渣耙板、刮集装置、水下轴承、小刮刀、渣斗、浮渣耙板等组成。中心传动浓缩刮泥机能进一步分离浓缩池污泥中的自由水分,以减少污泥的体积,提高污泥浓,将浓缩后污泥排除池外。
首先要明确一点,刮泥机用在哪里,初沉池的污水中有较多的固体颗粒,含泥沙量较大,刮泥机设计的停留时间也不能太长,刮泥机需要快速的运行。相对的,二沉池的污水中更多的是小块污泥颗粒,污泥也主要为活性污泥,如果刮泥机停留时间过短,污泥难以沉降,所以刮泥机运行速要设计得较慢。而初沉池主要需要把污泥刮至集泥斗处,二沉池需要把沉淀在二沉池底部的活性污泥吸出来,所以二沉池的刮泥机准确来讲是吸泥机,而二沉池吸泥机一般会配备刮泥板辅助吸泥,所以又被称为刮吸泥机。
其次是沉淀池中,周边传动和中心传动,半桥式和全桥式的区别。根据沉淀池的大小,沉淀池的受力荷载各不相同,一般情况下,大于18M的沉淀池,会选用中心传动刮泥机,而较小的沉淀池则选用周边传动刮泥机。而全桥式周边传动刮泥机与半桥式周边传动刮泥机相比,周期仅仅为二分之一,能处理更多的污泥,适用于沉降性能好,而污泥量更大的场合。
免责声明:
本站部份内容系网友自发上传与转载,不代表本网赞同其观点;
如涉及内容、版权等问题,请在及时联系我们,我们将在核实后第一时间删除内容!
上一篇:中心传动刮吸泥机污泥处理设备
下一篇:沉淀池泵吸式吸泥机